Вашата количка е празна!
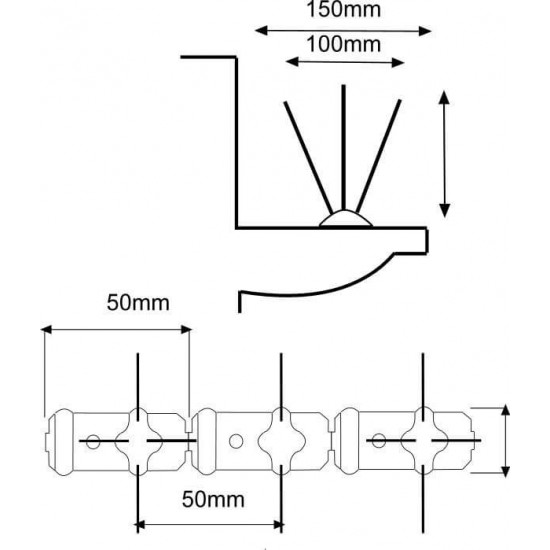
Шипове с тел от неръждаема стомана против птици тип "Х".
Размери:
височина: 10см
дължина: 50 см